首页 > 游戏推荐 >腾讯注册齐司礼商标 《光与夜之恋》多位男主已申注

腾讯注册齐司礼商标 《光与夜之恋》多位男主已申注

来源:3DM 2023-03-21 15:16:35

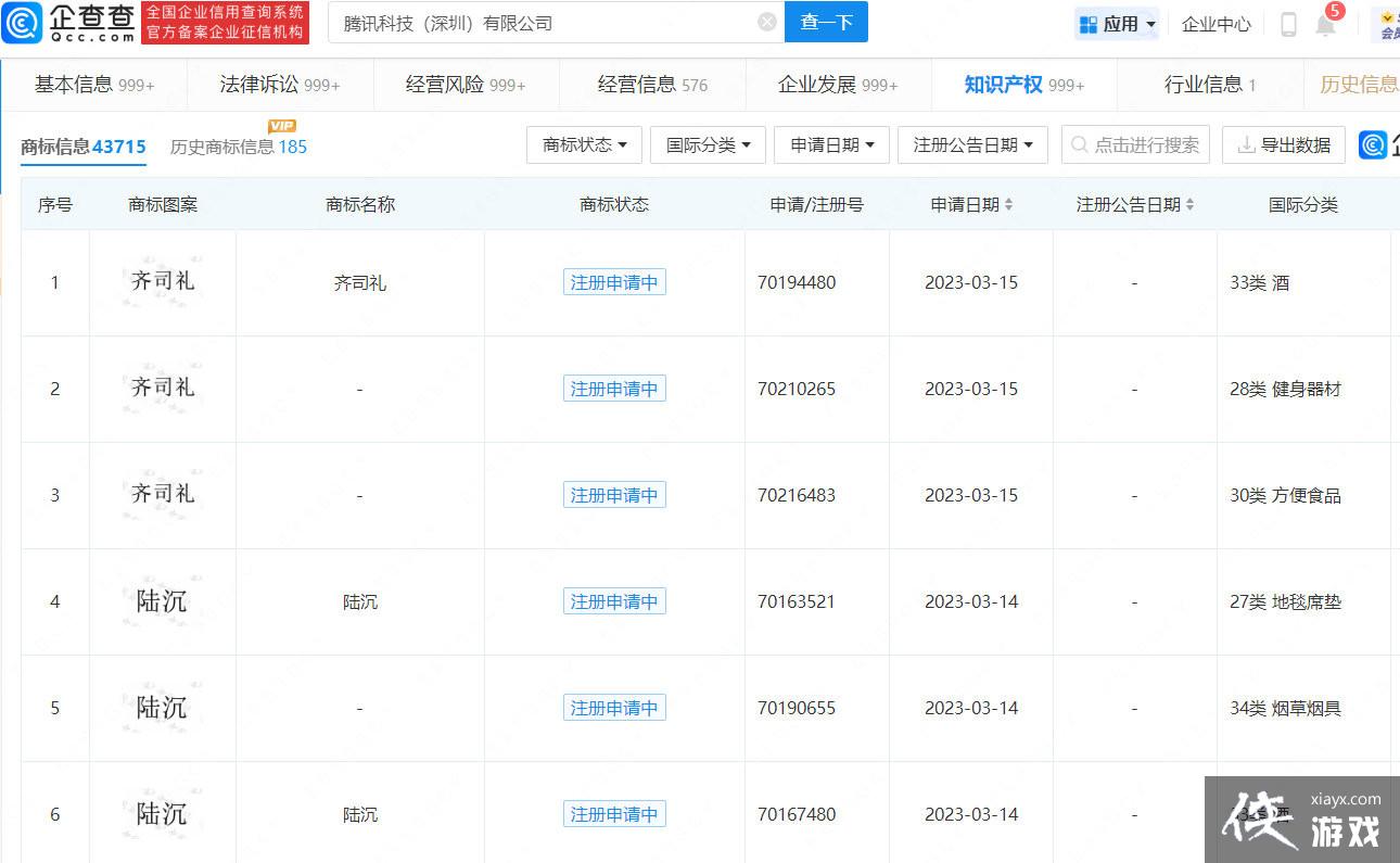
新浪游戏今日(3月21日)消息,企查查APP显示,近日,腾讯科技(深圳)有限公司申请注册游戏《光与夜之恋》男主“齐司礼”商标,国际分类包括酒、健身器材、方便食品,商标状态为申请注册中。企查查信息显示,目前腾讯已申请注册“齐司礼、夏鸣星、陆沉、查理苏”等多位《光与夜之恋》男主姓名商标。

腾讯注册齐司礼商标 《光与夜之恋》多位男主已申注

腾讯注册齐司礼商标 《光与夜之恋》多位男主已申注

齐司礼,手游《光与夜之恋》男主角之一。时尚界公认的顶级设计师,曾是灵族的将军,与你有着千年的羁绊。

腾讯注册齐司礼商标 《光与夜之恋》多位男主已申注

侠游戏发布此文仅为了传递信息,不代表侠游戏网站认同其观点或证实其描述

热游推荐

更多
湘ICP备14008430号-1 湘公网安备 43070302000280号
All Rights Reserved
本站为非盈利网站,不接受任何广告。本站所有软件,都由网友
上传,如有侵犯你的版权,请发邮件给xiayx666@163.com
抵制不良色情、反动、暴力游戏。注意自我保护,谨防受骗上当。
适度游戏益脑,沉迷游戏伤身。合理安排时间,享受健康生活。