首页 > >保时捷新专利探索独特 W12 发动机,有望支持三涡轮或机械增压

保时捷新专利探索独特 W12 发动机,有望支持三涡轮或机械增压

来源:ithome 2025-10-18 11:30:32

xiayx 10月18日消息,据外媒 Carscoops 报道,保时捷去年提交了一项 W12 发动机的新专利,并于昨日正式公布。

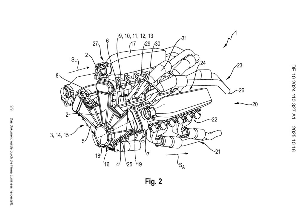
该专利揭示了一种结构复杂、拥有三个明显气缸组的 W12 发动机,明确指出气缸呈 W 形排列。

新发动机在现有 W12 基础上进行了多项技术改进。保时捷称,这些改进“既实用又非平凡”,专利重点说明了独特 W 型布局 —— 不像两个 V 型组合,因而更具辨识度。

保时捷新专利探索独特 W12 发动机,有望支持三涡轮或机械增压

每个气缸盖至少配有一个进气口和一个排气口,进气口与空气歧管相连,排气口则与废气排放装置连接。空气歧管位于上方,几乎覆盖整个气缸盖,使空气可从上方流入进气通道,或由气缸内上下运动的活塞直接吸入,无需弯曲。空气室设有与进气口相通的开口,朝向曲轴方向。

保时捷称,这种设计能够最小化摩擦损失,短进气口设计也能增加灵活性,同时缩短进气路径降低进气温度,并确保进气系统与排气系统清晰分隔。

保时捷新专利探索独特 W12 发动机,有望支持三涡轮或机械增压

新发动机有望支持三台涡轮增压器或机械增压器,性能远超旧款 6.0 升双涡轮 W12 发动机。xiayx从报道中获悉,旧款 W12 发动机曾驱动宾利 Mulliner Batur,最大输出功率 740 马力(552 kW / 750 PS),扭矩 1000 N?m。

侠游戏发布此文仅为了传递信息,不代表侠游戏网站认同其观点或证实其描述

热游推荐

更多
湘ICP备14008430号-1 湘公网安备 43070302000280号
All Rights Reserved
本站为非盈利网站,不接受任何广告。本站所有软件,都由网友
上传,如有侵犯你的版权,请发邮件给xiayx666@163.com
抵制不良色情、反动、暴力游戏。注意自我保护,谨防受骗上当。
适度游戏益脑,沉迷游戏伤身。合理安排时间,享受健康生活。