xiayx 1月21日消息,汽车媒体 CarScoops 昨日(1 月 20 日)发布博文,梅赛德斯-奔驰公司于近期申请了一项尾灯设计新专利,有望解决现有汽车尾门布线日益复杂、笨重且维修成本高昂的问题。
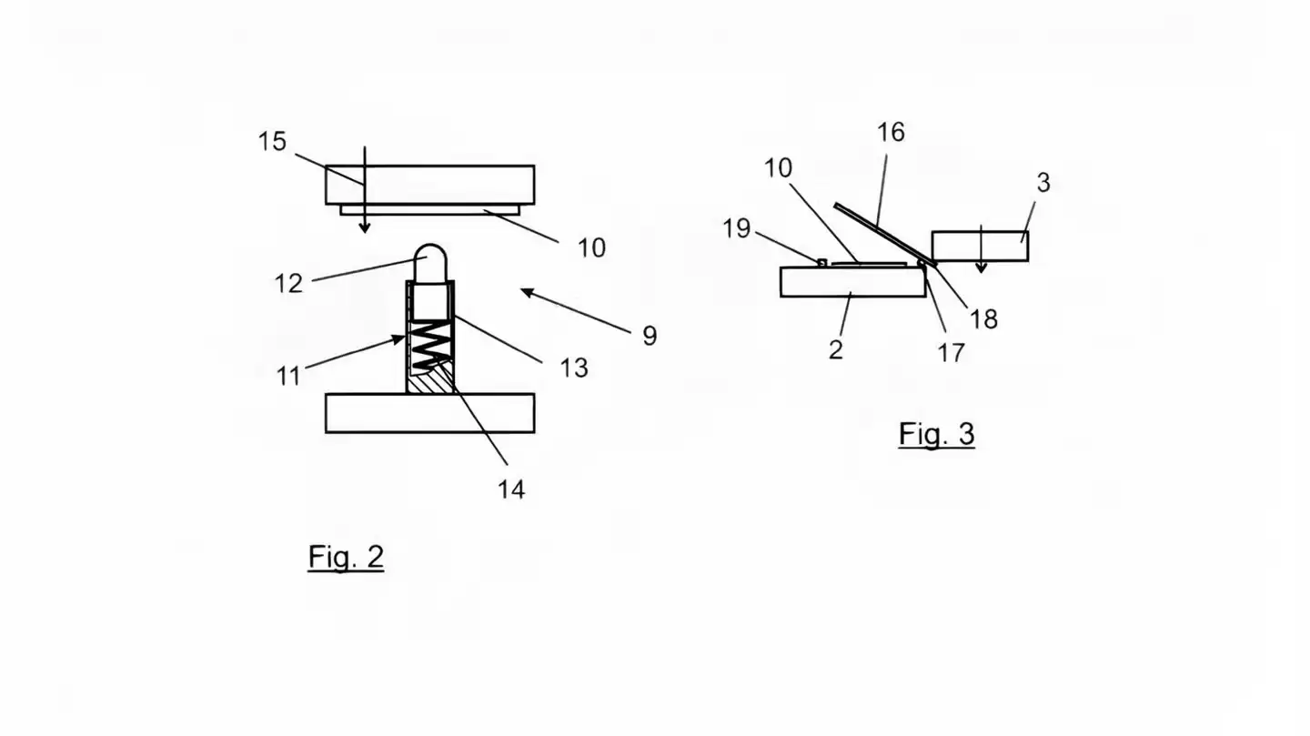
这项新专利旨在用一种巧妙的纯机械设计,取代连接车身与尾灯之间长而复杂的柔性电线,其核心是一个弹簧加载式机械开关。
长期稳定更新的攒劲资源: >>>点此立即查看<<<

xiayx援引博文介绍,在尾门关闭后,开关内的物理触点会自动压紧并接通电路,为安装在尾门上的尾灯部分供电;尾门打开时,触点则自动分离断电。

这种设计尤其适用于尾灯被尾门一分为二的车型(如现款奔驰 GLS),它不再需要冗长的电线穿过柔性导管连接两部分灯组,从而显著减轻重量、降低成本,并减少因线束反复弯折而产生的潜在故障点。


事实上,利用弹簧触点来导电并非全新技术,但在汽车领域的应用却不多见。该方案的最大挑战在于应对严苛的使用环境,尾门区域极易积聚灰尘、泥水等污垢。为了保证长期可靠性,这些电气触点必须具备出色的防护能力和自清洁功能,否则一层薄薄的灰尘就可能导致整个系统失灵。

奔驰目前旗下尚无任何车型采用此设计,并且专利的申请也不意味着会立即投入量产。
侠游戏发布此文仅为了传递信息,不代表侠游戏网站认同其观点或证实其描述