首页 > 攻略合集 > 光与夜之恋

光与夜之恋 光与夜之恋 2021-01-30

  • 光与夜之恋羁梦镜影攻略
    光与夜之恋羁梦镜影攻略
    光与夜之恋尘埃落定活动正在进行中,一些小伙伴还不清楚这个活动要怎么玩,下面小编就给大家带来了光与夜之恋尘埃落定活动攻略,希望能够帮助到大家。光与夜之
    2023-04-09
  • 光与夜之恋尘埃落定活动攻略
    光与夜之恋尘埃落定活动攻略
    光与夜之恋尘埃落定活动正在进行中,一些小伙伴还不清楚这个活动要怎么玩,下面小编就给大家带来了光与夜之恋尘埃落定活动攻略,希望能够帮助到大家。光与夜之
    2023-04-07
  • 光与夜之恋羁梦镜影囚境怎么玩
    光与夜之恋羁梦镜影囚境怎么玩
    光与夜之恋羁梦镜影·囚境将于4月10日正式开放,许多小伙伴还不知道这个活动怎么玩,下面小编就给大家带来了光与夜之恋羁梦镜影囚境活动介绍,一起来看看吧。
    2023-04-04
  • 光与夜之恋绘心之镜囚境活动介绍
    光与夜之恋绘心之镜囚境活动介绍
    光与夜之恋绘心之镜?囚境活动即将开启,许多小伙伴还不知道活动的具体内容,下面小编为大家带来了光与夜之恋绘心之镜囚境活动介绍,感兴趣的小伙伴继续往下看吧。
    2023-04-04
  • 光与夜之恋陆沉囚境怎么获得
    光与夜之恋陆沉囚境怎么获得
    光与夜之恋陆沉·囚境将于4月10日开放获取,许多小伙伴还不知道这张卡要怎么获得,下面小编就给大家带来了光与夜之恋陆沉囚境获取方法介绍,感兴趣的小伙伴一
    2023-04-03
  • 光与夜之恋陆沉芳菲典藏专属家具怎么获得
    光与夜之恋陆沉芳菲典藏专属家具怎么获得
    光与夜之恋陆沉芳菲典藏专属家具即将上线,许多小伙伴还不清楚要怎么获得,下面小编就给大家带来了光与夜之恋陆沉专属家具获取方法介绍,有需要的小伙伴快来看看吧
    2023-04-03
  • 光与夜之恋春见有期第一天怎么过
    光与夜之恋春见有期第一天怎么过
    光与夜之恋今天开启了春见有期第一天的关卡,很多小伙伴都好奇光与夜之恋春见有期第一天怎么过,现在小编带来了春见有期第一天通关攻略,一起来看看吧。光与夜
    2023-03-24
  • 光与夜之恋限时复刻是什么
    光与夜之恋限时复刻是什么
    光与夜之恋限时复刻是什么?相信还有很多玩家们不知道光与夜之恋本周末限时复刻第三声巨响和归途活动,下面为大家带来光与夜之恋限时复刻是什么的具体内容,感兴趣
    2023-03-22
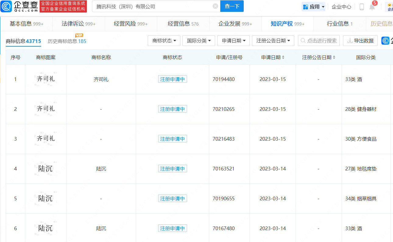
  • 腾讯注册齐司礼商标 《光与夜之恋》多位男主已申注
    腾讯注册齐司礼商标 《光与夜之恋》多位男主已申注
    新浪游戏今日(3月21日)消息,企查查APP显示,近日,腾讯科技(深圳)有限公司申请注册游戏《光与夜之恋》男主“齐司礼”商标,国际分类包括酒、健身器材、方便
    2023-03-21
  • 光与夜之恋春见有期怎么玩
    光与夜之恋春见有期怎么玩
    光与夜之恋春见有期怎么玩?相信还有很多玩家们不知道春见有期活动的具体内容,下面为大家带来光与夜之恋春见有期怎么玩的具体内容和方法,感兴趣的玩家们千万不要
    2023-03-20
湘ICP备14008430号-1 湘公网安备 43070302000280号
All Rights Reserved
本站为非盈利网站,不接受任何广告。本站所有软件,都由网友
上传,如有侵犯你的版权,请发邮件给xiayx666@163.com
抵制不良色情、反动、暴力游戏。注意自我保护,谨防受骗上当。
适度游戏益脑,沉迷游戏伤身。合理安排时间,享受健康生活。